Im Umfeld der modernen Fertigung und Technik gibt es nur wenige Fragen, die so zentral sind wie diese: „Wer hat den 3D-Drucker erfunden?“ Die Antwort führt direkt zu Charles („Chuck“) W. Hull, dem Visionär, der nicht nur die Technologie erdachte, sondern auch die Industrie begründete, die bis heute die Art und Weise verändert, wie weltweit alles – von Flugzeugteilen bis hin zu chirurgischen Implantaten – hergestellt wird.
Während viele den 3D-Druck mit dem jüngsten Technologieboom in Verbindung bringen, reichen seine Ursprünge bis in die frühen 1980er Jahre zurück. Chuck Hull erfand den 3D-Druck - zunächst in Form eines Verfahrens, das als Stereolithografie (SLA)bekannt ist - um ein hartnäckiges Problem im Fertigungsablauf zu lösen: die zeitaufwendige Erstellung von Prototypen. Seine Innovation beschleunigte nicht nur die Produktentwicklung, sondern schuf eine völlig neue Kategorie der Fertigung, die heute als Additive Fertigung bekannt ist.
Um die Tragweite dieser Erfindung zu verstehen, sollten Fachleute den zeitlichen Ablauf betrachten – die Patentanmeldedaten zur Absicherung der Technologie und die Entwicklung von Hulls Arbeit von einem einzigen „Augenspülbecher“ bis zum Bioprinting menschlicher Lungen.
Der Auslöser der Erfindung: 1983 und das erste 3D-gedruckte Teil
Bevor es den 3D-Druck gab, mussten Konstruktionsingenieure einen erheblichen Engpass durchschreiten. Die Erstellung eines Prototyps für ein Kunststoffteil war ein arbeitsintensiver, einmaliger Werkzeugprozess. Dazu mussten Spritzgussformen entworfen werden, deren Herstellung oft sechs bis acht Wochen dauerte. Wenn das anfängliche Design unvollkommen war – was in F&E häufig vorkommt – musste das Team die Werkzeuge abändern oder erneut herstellen, was die Entwicklung zu einer mehrmonatigen Geduldsprobe werden ließ.
Im Jahr 1983 arbeitete Chuck Hull bei UVP, Inc. (jetzt Analytik Jena), einem Hersteller von UV-Lichtquellen. Bei seiner Arbeit verwendete er UV-Licht, um verschiedene Materialien zu härten. Während Hull beobachtete, wie die Materialien unter Lichteinwirkung aushärteten, entstand die Idee, dreidimensionale Objekte zu formen, indem er dünne Kunststoffschichten übereinanderlegte und mit UV-Licht härtete.
Am 10. November 1983 führte Hull dieses Konzept erfolgreich vor. Er verwendete sein neues Verfahren, die Stereolithografie, um das allererste 3D-gedruckte Teil herzustellen: einen einfachen Augenspülbecher. Diese kleine blaue Tasse bewies, dass digitale Daten in wenigen Stunden statt in Wochen in ein physisches Objekt verwandelt werden können - das Konzept des „Rapid Prototyping“ war geboren.
Das erste 3D-gedruckte Teil.
Das Patent, das eine Branche begründete: 1984
Für Fachleute, die sich fragen: „In welchem Jahr hat Charles Hull ein Patent angemeldet?“, ist 1984 das entscheidende Jahr.
Nach seinem Erfolg im Labor sicherte sich Hull sofort die geistigen Eigentumsrechte für seine Erfindung. Er meldete sein Patent als „Stereolithografie-Apparat“ (SLA) im Jahr 1984 an. Diese Anmeldung ist historisch bedeutsam, da sie die offizielle Dokumentation der Technologie darstellt, die zur Grundlage der additiven Fertigungsbranche werden sollte.
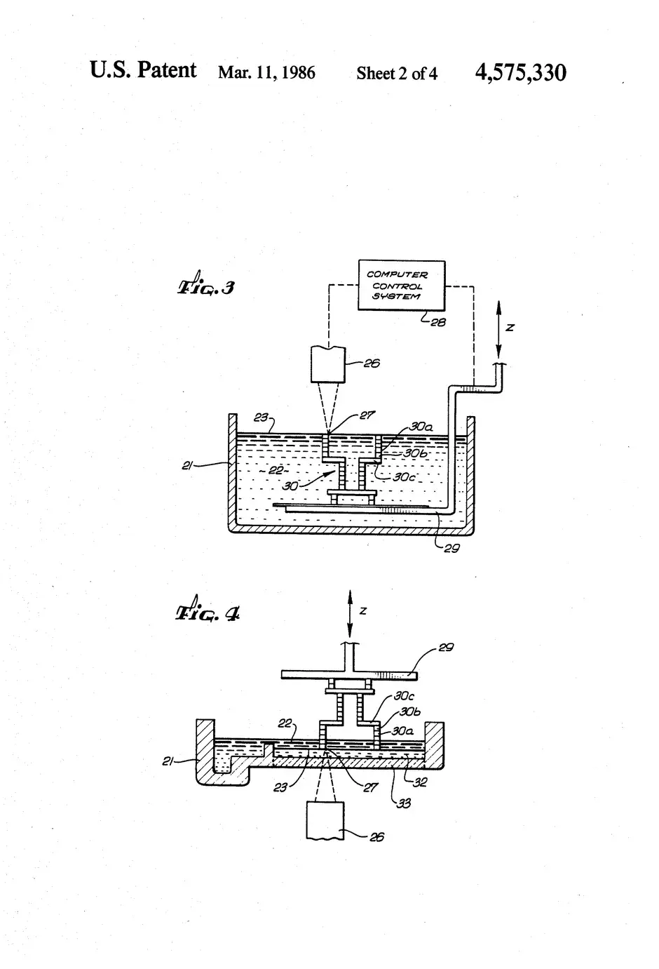
Bei der Stereolithografie benötigt man eine Wanne mit flüssigem Photopolymerharz. Ein computergesteuerter UV-Laserstrahl zeichnet einen Querschnitt des Werkstücks auf die Oberfläche der Flüssigkeit und härtet diese aus. Daraufhin wird die Plattform abgesenkt, und der Vorgang wiederholt sich, wodurch das Werkstück Schicht für Schicht aufgebaut wird. Dieses Patent beschrieb nicht nur eine Maschine, sondern einen grundlegenden Wandel in der Fertigungslogik – Material wird nur dort hinzugefügt, wo es benötigt wird, statt es aus einem Block zu entfernen
Gründung von 3D Systems und Kommerzialisierung (1986–1988)
1986 wurde Chuck Hull Mitbegründer von 3D Systems, um seine Technologie zu vermarkten. Im selben Jahr wurde das Unternehmen zum ersten 3D-Druckunternehmen der Welt. Dieser Schritt machte die Stereolithografie aus einer patentrechtlich angemeldeten Idee zu einer kommerziell nutzbaren Lösung für Ingenieure.
Die erste Veröffentlichung einer Hardware in dieser Branche erfolgte 1987, als 3D Systems den Drucker SLA-1 Stereolithografie auf den Markt brachte. Dies war der erste 3D-Drucker, der jemals auf den Markt gebracht wurde. Frühe Anwender fanden sich vor allem in der Automobilindustrie, da sie stark am Rapid Prototyping interessiert waren, um Fahrzeugdesigns zu beschleunigen. In den ersten fünf Jahren des Bestehens des Unternehmens nutzte man die Technologie hauptsächlich für Rapid Prototyping.
Die ASME (American Society of Mechanical Engineers) hat den SLA-1 inzwischen als Historic Mechanical Engineering Landmark ausgezeichnet und damit seine Rolle bei der Veränderung der weltweiten Fertigung gewürdigt. Die Originalmaschine wird derzeit im National Inventors Hall of Fame Museum in Alexandria, Virginia, ausgestellt.
Würdigung eines Vermächtnisses
Die Tragweite von Chuck Hulls Beitrag begann in dieser Zeit, große institutionelle Anerkennung zu erfahren. Im Jahr 2014 wurde er in die National Inventors Hall of Fame des United States Patent and Trademark Office aufgenommen. Im selben Jahr erhielt er den European Inventor Award in der Kategorie der nicht zu Europa gehörigen Länder für seinen transformativen Einfluss auf die Gesellschaft.
Das European Patent Office (EPA) stellte damals fest, dass Hull in einer Reihe mit Persönlichkeiten wie Henry Ford und Steve Jobs steht – Menschen, die die Menschheit nachhaltig beeinflusst haben. Zu diesem Zeitpunkt hielt Hull zahlreiche Patente: Er ist namentlich als Erfinder von 85 US-Patenten eingetragen und hält zudem zahlreiche internationale Patente in den Bereichen Ionenoptik und 3D-Druck.
Ausstellung zu Chuck Hull in der National Inventors Hall of Fame
Innovationen beim Bioprinting und Ehrungen (2015 bis heute)
Heute treibt Chuck Hull die Innovation weiter voran. Weit davon entfernt, sich zur Ruhe zu setzen, ist er derzeit Chief Technology Officer bei 3D Systems. Sein Fokus liegt nun auf der nächsten Stufe der Additiven Fertigung: Bioprinting.
Hull leitet ein Team, das mit United Therapeutics an einem gemeinsamen Entwicklungsprogramm arbeitet. Das Team hat sich ein ehrgeiziges Ziel gesetzt: die unbegrenzte Versorgung mit menschlichen Lungen, die keine Immunsuppression erfordern. Diese Technologie soll Patienten mit Lungenerkrankungen im Endstadium den Zugang zu verträglichen, transplantierbaren Organen ermöglichen.
Lesen Sie Chuck Hulls Gedanken zum Lake Nona Summit.
Chuck Hull mit dem ehemaligen Präsidenten Joe Biden.
Die Zahl der Anerkennungen für sein Lebenswerk wächst weiter:
2016: Hull erhielt den Manufacturing Leadership Lifetime Achievement Award.
2023: Am 24. Oktober 2023 wurde Chuck Hull von Präsident Joe Biden im Weißen Haus mit der National Medal of Technology and Innovation (NMTI) ausgezeichnet. Dies ist die höchste Auszeichnung der Vereinigten Staaten für technologische Leistungen.
2025: Im Februar 2025 wurde Hull in die National Academy of Engineering (NAE) gewählt, eine der höchsten beruflichen Auszeichnungen für einen Ingenieur.
Der bleibende Einfluss von Chuck Hull
Wenn man ihn nach seinem Beitrag fragt, bleibt Hull bescheiden. „Ich hätte mich schon längst zur Ruhe setzen sollen, aber ich habe es nicht getan“, sagte er und stellte fest: „Der 3D-Druck ist nur ein weiteres Werkzeug, aber ein sehr leistungsfähiges Werkzeug, mit dem man alles herstellen kann.“
Für Fachleute, die heute 3D-Drucker einsetzen – sei es für Turbinenschaufeln in der Luft- und Raumfahrt, Aligner oder Prototypen in der Automobilindustrie – führt die Technologie auf jenen einen Funken Inspiration im Jahr 1983 zurück. Chuck Hull erfand den 3D-Druck nicht nur, indem er eine Maschine baute, sondern indem er die Physik der Fertigung neu dachte
Von der Anmeldung des ersten SLA-Patents im Jahr 1984 bis hin zum Pionier des Bioprinting in den 2020er Jahren zeigt Hulls Karriere, dass die Definition des Begriffs „Fertigung“ fließend ist. Was als Methode zur Aushärtung von Kunststoffen mit UV-Licht begann, hat sich zu einem Verfahren für den Druck von menschlichem Gewebe entwickelt – ein Beweis dafür, dass die von ihm gegründete Branche noch längst nicht ihr volles Potenzial ausgeschöpft hat.
-
In diesem Artikel über das Lake Nona Impact Forum spricht Chuck Hull von 3D Systems über die Ideen, Partnerschaften und Technologien, die die nächste Ära der Innovationen im Gesundheitswesen prägen.